DOOR LOCK DOES NOT OPERATE [SECURITY AND LOCKS (US)]
DOOR LOCK DOES NOT OPERATE [SECURITY AND LOCKS (US)]
SM2566394
id0903k70229ka
Outline
|
Description
|
• All doors cannot be locked/unlocked using the door lock switch.
• All doors cannot be locked/unlocked using the auto door lock.
|
|
|
Possible cause
|
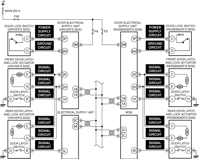
• Connector or terminal malfunction of the following parts:
• Short to ground or open circuit in door lock switch power supply circuit
• Open circuit in door lock switch ground circuit
• Short to ground or open circuit in door lock actuator (front door latch and lock actuator) signal circuit
• Short to ground or open circuit in door latch switch (front door latch and lock actuator) signal circuit
• Short to ground or open circuit in door lock actuator (rear door latch and lock actuator) signal circuit
• Short to ground or open circuit in door latch switch (rear door latch and lock actuator) signal circuit
• Door lock switch malfunction
• Front door latch and lock actuator malfunction
• Rear door latch and lock actuator malfunction
• Door-electrical supply unit malfunction
|
|
![]() |
||
![]() |
![]() |
|
![]() |
![]() |
|
![]() |
||
Diagnostic Procedure
|
Step |
Inspection |
Results |
Action |
|---|---|---|---|
|
1
|
VERIFY ALL SYSTEM DTCs
• Perform the DTC inspection. (See DTC INSPECTION.)
• Are any DTCs displayed?
|
Yes
|
Repair the malfunctioning location according to the applicable DTC troubleshooting.
|
|
No
|
Go to the next step.
|
||
|
2
|
INSPECT DOOR LOCK SWITCH, FRONT DOOR LATCH AND LOCK ACTUATOR, REAR DOOR LATCH AND LOCK ACTUATOR, BCM, ELECTRICAL SUPPLY UNIT, AND DOOR-ELECTRICAL SUPPLY UNIT CONNECTORS FOR MALFUNCTION
• Inspect the applicable connector and terminal. (See CONNECTOR INSPECTION.)
• Are the connector and terminal normal?
|
Yes
|
Go to the next step.
|
|
No
|
Repair or replace the malfunctioning location and perform the repair completion verification.
|
||
|
3
|
INSPECT DOOR LOCK SWITCH POWER SUPPLY CIRCUIT FOR SHORT TO GROUND AND OPEN CIRCUIT
• Inspect the power supply circuit for a short to ground and open circuit. (See CIRCUIT INSPECTION.)
• Is the circuit normal?
|
Yes
|
Go to the next step.
|
|
No
|
Repair or replace the malfunctioning location and perform the repair completion verification.
|
||
|
4
|
INSPECT DOOR LOCK SWITCH GROUND CIRCUIT FOR OPEN CIRCUIT
• Inspect the ground circuit for open circuit. (See CIRCUIT INSPECTION.)
• Is the circuit normal?
|
Yes
|
Go to the next step.
|
|
No
|
Repair or replace the malfunctioning location and perform the repair completion verification.
|
||
|
5
|
INSPECT DOOR LATCH AND LOCK ACTUATOR SIGNAL CIRCUIT FOR SHORT TO GROUND AND OPEN CIRCUIT
• Inspect the signal circuit for open circuit. (See CIRCUIT INSPECTION.)
• Is the circuit normal?
|
Yes
|
Go to the next step.
|
|
No
|
Repair or replace the malfunctioning location and perform the repair completion verification.
|
||
|
6
|
INSPECT DOOR LOCK SWITCH FOR MALFUNCTION
• Inspect the applicable part. (See DOOR LOCK SWITCH INSPECTION.)
• Is the part normal?
|
Yes
|
Go to the next step.
|
|
No
|
Repair or replace the malfunctioning location and perform the repair completion verification.
|
||
|
7
|
INSPECT DOOR LATCH AND LOCK ACTUATOR FOR MALFUNCTION
• Inspect the applicable part. (See FRONT DOOR LATCH AND LOCK ACTUATOR INSPECTION [(US)].) (See REAR DOOR LATCH AND LOCK ACTUATOR INSPECTION [(US)].)
• Is the part normal?
|
Yes
|
Go to the next step.
|
|
No
|
Repair or replace the malfunctioning location and perform the repair completion verification.
|
||
|
Repair completion verification
|
VERIFY THAT VEHICLE IS REPAIRED
• Install/connect the part removed/disconnected during the troubleshooting procedure.
• Has the malfunction symptom been eliminated?
|
Yes
|
Complete the symptom troubleshooting. (Explain contents of repair to customer)
|
|
No
|
Refer to the controller area network (CAN) malfunction diagnosis flow to inspect for a CAN communication error.
If the CAN communication is normal, perform the diagnosis from Step 1.
• If the malfunction is not resolved, replace the door-electrical supply unit. (See DOOR-ELECTRICAL SUPPLY UNIT REMOVAL/INSTALLATION.)
|





