ENGINE DISASSEMBLY/ASSEMBLY [SKYACTIV-G (WITHOUT CYLINDER DEACTIVATION (US))]
ENGINE DISASSEMBLY/ASSEMBLY [SKYACTIV-G (WITHOUT CYLINDER DEACTIVATION (US))]
SM2565602
id0110u0800500
Special Service Tool (SST)
|
1. : Mazda SST number
2. : Global SST number
|
|||
|
1: 49 UN30 3050
2: 303–050
Engine lifting bracket
|
![]() |
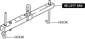
1: 49 L017 5A0
2: –
Support hanger
|
![]() |
Replacement Part
|
Gasket
Quantity: 1
Location of use: Oil filter body
|
-
Caution
-
• When the transaxle is installed, do not suspend the engine. Otherwise, the SST installation area of the cylinder head may be damaged due to excess weight. Only suspend the engine after separating the engine and transaxle.• Applying excessive force (force of 100 N {10.2 kgf, 22.5 lbf} or more) to the electric variable valve timing motor/driver may cause a malfunction. When servicing, be careful not to apply excessive force to the electric variable valve timing motor/driver using other parts or tools.
1.To enable to install the SST, disconnect the clip shown in the figure and set the wiring harness aside.
am3zzw00024896
|
2.Install the SST and the following bolt to the position shown in the figure.
Engine front side
am3zzw00024897
|
Engine rear side
am3zzw00024898
|
-
Bolt:
-
part number 99794 1025 or an M10 × 1.25, length 25 mm {0.98 in}
3.Engage the hooks of the SST (49 L017 5A0) to the SST (49 UN30 3050).
am3zzw00024899
|
-
Caution
-
• Do not lift up the engine.
4.To ensure the safety of the work (control engine and transaxle sway), set a hoist as shown in the figure.
am3zzw00024900
|
5.Remove the insulator shown in the figure.
am3zzw00024901
|
6.Remove the exhaust system. (See EXHAUST SYSTEM REMOVAL/INSTALLATION [SKYACTIV-G (WITH CYLINDER DEACTIVATION (US))].)
7.Remove the exhaust manifold bracket No.1. (See Exhaust Manifold Bracket No.1 Removal Note.)(See Exhaust Manifold Bracket No.1 Installation Note.)
8.Remove the bracket No.1 (drive shaft bracket). (See FRONT DRIVE SHAFT REMOVAL/INSTALLATION [(US)].)
9.Remove the starter. (See STARTER REMOVAL/INSTALLATION [SKYACTIV-G (WITH CYLINDER DEACTIVATION (US))].)
10.Remove the coolant control valve. (See COOLANT CONTROL VALVE REMOVAL/INSTALLATION [SKYACTIV-G (WITH CYLINDER DEACTIVATION (US))].)
11.Fix the drive plate using the crankshaft pulley lock bolt. (ATX)
12.Remove the torque converter installation nut from the starter installation hole. (See AUTOMATIC TRANSAXLE REMOVAL/INSTALLATION [ET6A-EL (SKYACTIV-G 2.0, SKYACTIV-G 2.5) (US)].)
13.Disconnect the engine and transaxle, and lower only the engine from the engine lifter. (See MANUAL TRANSAXLE REMOVAL/INSTALLATION [C66M-R (SKYACTIV-G 2.0, SKYACTIV-G 2.5) (US)] (MTX).) (See AUTOMATIC TRANSAXLE REMOVAL/INSTALLATION [ET6A-EL (SKYACTIV-G 2.0, SKYACTIV-G 2.5) (US)] (ATX).)
14.Remove the generator. (See GENERATOR REMOVAL/INSTALLATION [SKYACTIV-G (WITHOUT CYLINDER DEACTIVATION (US))].)
15.Remove the intake-air system. (See INTAKE-AIR SYSTEM REMOVAL/INSTALLATION [SKYACTIV-G (WITH CYLINDER DEACTIVATION (US))].)
16.Remove the oil separator. (See POSITIVE CRANKCASE VENTILATION (PCV) VALVE REMOVAL/INSTALLATION [SKYACTIV-G (WITHOUT CYLINDER DEACTIVATION (US))].)
17.Remove the knock sensor (KS). (See KNOCK SENSOR (KS) REMOVAL/INSTALLATION [SKYACTIV-G (WITHOUT CYLINDER DEACTIVATION (US))].)
18.Remove the fuel injectors. (See FUEL INJECTOR REMOVAL/INSTALLATION [SKYACTIV-G (WITHOUT CYLINDER DEACTIVATION (US))].)
19.Remove the camshaft position (CMP) sensor. (See CAMSHAFT POSITION (CMP) SENSOR REMOVAL/INSTALLATION [SKYACTIV-G (WITHOUT CYLINDER DEACTIVATION (US))].)
20.Remove the vacuum pump. (See VACUUM PUMP REMOVAL/INSTALLATION [SKYACTIV-G (WITHOUT CYLINDER DEACTIVATION (US))].)
21.Remove the high pressure fuel pump and rear housing. (See HIGH PRESSURE FUEL PUMP REMOVAL/INSTALLATION [SKYACTIV-G (WITHOUT CYLINDER DEACTIVATION (US))].)
22.Remove the electric variable valve timing motor/driver. (See ELECTRIC VARIABLE VALVE TIMING MOTOR/DRIVER REMOVAL/INSTALLATION [SKYACTIV-G (WITHOUT CYLINDER DEACTIVATION (US))].)
23.Remove the oil filter. (See OIL FILTER REPLACEMENT [SKYACTIV-G (WITHOUT CYLINDER DEACTIVATION (US))].)
24.Remove the engine oil solenoid valve. (See ENGINE OIL SOLENOID VALVE REMOVAL/INSTALLATION [SKYACTIV-G (WITHOUT CYLINDER DEACTIVATION (US))].)
25.Remove the engine oil temperature sensor/engine oil pressure sensor. (See ENGINE OIL TEMPERATURE SENSOR/ENGINE OIL PRESSURE SENSOR REMOVAL/INSTALLATION [SKYACTIV-G (WITH CYLINDER DEACTIVATION (US))].)
26.Remove the crankshaft position (CKP) sensor. (See CRANKSHAFT POSITION (CKP) SENSOR REMOVAL/INSTALLATION [SKYACTIV-G (WITHOUT CYLINDER DEACTIVATION (US))].)
27.Remove the dipstick.
28.Remove the ignition coil/ion sensors. (See IGNITION COIL/ION SENSOR REMOVAL/INSTALLATION [SKYACTIV-G (WITHOUT CYLINDER DEACTIVATION (US))].)
29.Remove the wiring harness bracket shown in the figure.
am3zzw00024902
|
30.Remove the wiring harness bracket and wiring harness protector shown in the figure.
am6xuw00010481
|
31.Remove the emission harness.
32.Remove the water pump drive belt. (See DRIVE BELT REMOVAL/INSTALLATION [SKYACTIV-G (WITHOUT CYLINDER DEACTIVATION (US))].)
33.Remove the water inlet pipe and flange component. (See CYLINDER HEAD GASKET REPLACEMENT [SKYACTIV-G (WITHOUT CYLINDER DEACTIVATION (US))].)
34.Remove the water pump. (See WATER PUMP REMOVAL/INSTALLATION [SKYACTIV-G (WITHOUT CYLINDER DEACTIVATION (US))].)
35.Remove the clutch cover and clutch disc. (MTX) (See CLUTCH UNIT REMOVAL/INSTALLATION [C66M-R].)
36.Remove the short cord of the engine oil level sensor. (See ENGINE OIL LEVEL SENSOR REMOVAL/INSTALLATION [SKYACTIV-G (WITHOUT CYLINDER DEACTIVATION (US))].)
37.Remove in the order indicated in the table
38.Assemble in the reverse order of disassembly.
Exhaust side
am3zzw00024903
|
|
1
|
Oil filter body
|
|
2
|
Exhaust manifold bracket
|
Exhaust Manifold Bracket No.1 Removal Note
1.Loosen the bolt shown in the figure.
am3zzw00032333
|
2.Remove the bolts in the order shown in the figure, then remove the exhaust manifold bracket No.1.
am3zzw00031747
|
Exhaust Manifold Bracket Installation Note
1.Temporarily tighten the exhaust manifold bracket installation bolts.
2.Tighten the bolt in the order shown in the figure.
am3zzw00031748
|
Oil Filter Body Installation Note
-
Note
-
• The tightening order of the three bolts is optional.
1.After tightening the three bolts, tighten the first tightened bolt to the specified tightening torque again.
Exhaust Manifold Bracket No.1 Installation Note
1.Temporarily tighten the exhaust manifold bracket No.1 installation bolts in the order shown in the figure.
am3zzw00031749
|
2.Loosen the bolt shown in the figure until it is no longer seated on the surface.
am3zzw00032333
|
3.Tighten the bolts in the order shown in the figure.
am3zzw00032334
|















