INSTRUMENTATION/DRIVER INFO. LOCATION INDEX [(US)]
INSTRUMENTATION/DRIVER INFO. LOCATION INDEX [(US)]
SM2515170
id0922000102x1
Interior
am3zzw00036362
|
|
1
|
TEL antenna No.2 (with telematics communication system)
|
|
2
|
Instrument cluster
|
|
3
|
Active driving display (with active driving display)
|
|
4
|
TEL antenna No.1 (with telematics communication system)
|
|
5
|
Telematics communication unit (with telematics communication system)
|
|
6
|
Front Notification and warning speaker
|
|
7
|
Parking sensor OFF switch (with parking sensor system)
|
|
8
|
Indicator unit
(See INDICATOR UNIT INSPECTION.)
|
|
9
|
Fuel gauge sender unit (main)
|
|
10
|
Fuel gauge sender unit (sub) (AWD)
|
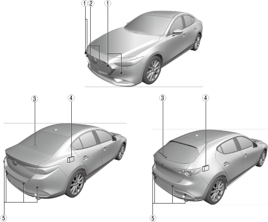
Exterior
am3zzw00026141
|
|
1
|
Front ultrasonic sensor (with parking sensor system, with front ultrasonic sensor)
|
|
2
|
Horn
(See HORN REMOVAL/INSTALLATION.)
(See HORN INSPECTION.)
|
|
3
|
Rear Notification and warning speaker
|
|
4
|
Parking assist unit (ultrasonic)
|
|
5
|
Rear ultrasonic sensor (with parking sensor system)
|

