CHECK ENGINE LIGHT ILLUMINATES [SKYACTIV-G]
CHECK ENGINE LIGHT ILLUMINATES [SKYACTIV-G]
SM2334603
id0103s4888900
|
Troubleshooting item |
Check engine light illuminates |
|
|---|---|---|
|
Description
|
• Check engine light illuminates incorrectly.
|
|
|
Possible cause
|
• Emission system malfunction (DTC is stored in PCM)
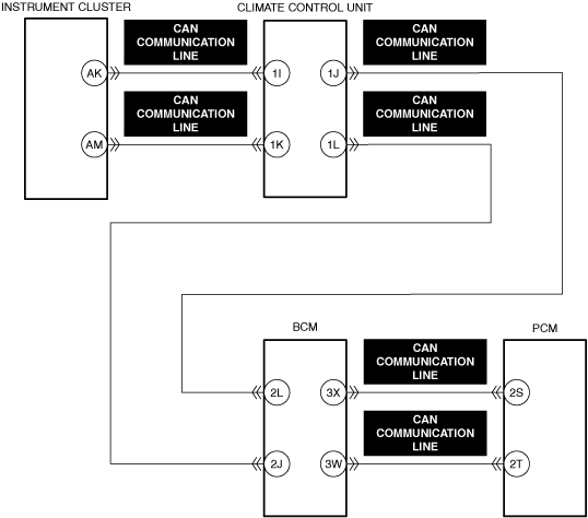
• Short or open circuit in PCM CAN communication line
• Short or open circuit in instrument cluster CAN communication line
• Short or open circuit in climate control unit CAN communication line
• Instrument cluster malfunction
|
|
![]() |
||
![]() |
||
![]() |
||
![]() |
||
![]() |
||
![]() |
||
Diagnostic Procedure
|
Step |
Inspection |
Results |
Action |
|---|---|---|---|
|
1
|
VERIFY PCM DTC
• Perform the DTC inspection for the PCM. (See DTC INSPECTION.)
• Are any DTCs displayed?
|
Yes
|
Repair the malfunctioning location according to the applicable DTC troubleshooting.
|
|
No
|
Go to the next step.
|
||
|
2
|
INSPECT PCM CAN COMMUNICATION LINE FOR SHORT AND OPEN CIRCUIT
• Inspect the applicable circuit for short and open circuit. (See CIRCUIT INSPECTION.)
• Is the circuit normal?
|
Yes
|
Go to the next step.
|
|
No
|
Repair or replace the malfunctioning location and perform the repair completion verification.
|
||
|
3
|
INSPECT INSTRUMENT CLUSTER CAN COMMUNICATION LINE FOR SHORT AND OPEN CIRCUIT
• Inspect the applicable circuit for short and open circuit. (See CIRCUIT INSPECTION.)
• Is the circuit normal?
|
Yes
|
Go to the next step.
|
|
No
|
Repair or replace the malfunctioning location and perform the repair completion verification.
|
||
|
4
|
INSPECT CLIMATE CONTROL UNIT CAN COMMUNICATION LINE FOR SHORT AND OPEN CIRCUIT
• Inspect the applicable circuit for short and open circuit. (See CIRCUIT INSPECTION.)
• Is the circuit normal?
|
Yes
|
Go to the next step.
|
|
No
|
Repair or replace the malfunctioning location and perform the repair completion verification.
|
||
|
5
|
INSPECT INSTRUMENT CLUSTER FOR MALFUNCTION
• Inspect the applicable part. (See INSTRUMENT CLUSTER INSPECTION [(US)].)
• Is the part normal?
|
Yes
|
Go to the next step.
|
|
No
|
Repair or replace the malfunctioning location and perform the repair completion verification.
|
||
|
Repair completion verification 1
|
VERIFY THAT VEHICLE IS REPAIRED
• Install/connect the part removed/disconnected during the troubleshooting procedure.
• Has the malfunction symptom been eliminated?
|
Yes
|
Complete the symptom troubleshooting. (Explain contents of repair to customer)
|
|
No
|
Refer to the controller area network (CAN) malfunction diagnosis flow to inspect for a CAN communication error.
• If the CAN communication is normal, perform the diagnosis from Step 1.
|
||
|
Repair completion verification 2
|
VERIFY IF MALFUNCTION IS CAUSED BY NOT PERFORMING PCM REPROGRAMMING
• Verify repair information and verify that there is a new calibration in the PCM.
• Is there a new calibration in the PCM?
|
Yes
|
Perform the PCM reprogramming and verify if the malfunction symptom was corrected.
• If the malfunction recurs, replace the PCM. (See PCM REMOVAL/INSTALLATION [SKYACTIV-G (WITH CYLINDER DEACTIVATION (US))].) (See PCM REMOVAL/INSTALLATION [SKYACTIV-G (WITHOUT CYLINDER DEACTIVATION (US))].)
|
|
No
|
Replace the PCM.
|





