CLUTCH COVER INSPECTION [C66M-R]
CLUTCH COVER INSPECTION [C66M-R]
SM2335433
id0510ma157400
1.Remove the clutch cover. (See CLUTCH UNIT REMOVAL/INSTALLATION [C66M-R].)
2.Perform the following procedures to inspect the clutch cover.
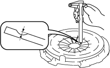
- (1)Measure the wear of the diaphragm spring fingers.
-
am3zzw00021644-
Clutch cover diaphragm spring fingers maximum depth
-
0.6 mm {0.02 in}
-
• If it exceeds the maximum specification, replace the clutch cover. (See CLUTCH UNIT REMOVAL/INSTALLATION [C66M-R].)
-
- (2)Measure the flatness of the pressure plate with a straight edge and a feeler gauge.
-
am3uuw00002093-
Maximum clearance of flatness of the pressure plate
-
0.3 mm {0.01 in}
-
• If it exceeds the maximum specification, replace the clutch cover. (See CLUTCH UNIT REMOVAL/INSTALLATION [C66M-R].)
-
- (3)Inspect the diaphragm spring fingers for the degree of uniformity in their height.
-
am3uuw00002094- 1)Install the clutch cover. (See CLUTCH UNIT REMOVAL/INSTALLATION [C66M-R].)
- 2)When checking the diaphragm spring fingers, mount a dial gauge on the cylinder block.
- 3)Rotate the flywheel and check for misaligned diaphragm spring fingers.
-
-
Clutch cover diaphragm spring fingers maximum height difference
-
1.0 mm {0.039 in}
-
• If it exceeds the maximum specification, replace the clutch cover. (See CLUTCH UNIT REMOVAL/INSTALLATION [C66M-R].)
-


