OUTER MIRROR GLASS INSPECTION
OUTER MIRROR GLASS INSPECTION
SM2336378
id091200010400
Heated Outer Mirror
1.Disconnect the negative battery terminal. (See NEGATIVE BATTERY TERMINAL DISCONNECTION/CONNECTION [(US)].)
2.Remove the outer mirror glass. (See OUTER MIRROR GLASS REMOVAL.)(See OUTER MIRROR GLASS INSTALLATION.)
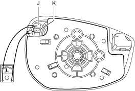
3.Verify that the resistance and continuity between the heated outer mirror terminals is as indicated in the table.
am3zzw00027696
|
-
• If not as indicated in the table, or if the resistance is not within the specification, replace the outer mirror glass. (See OUTER MIRROR GLASS REMOVAL.) (See OUTER MIRROR GLASS INSTALLATION.)
am3zzw00027697
Blind spot monitoring (BSM) warning indicator light
1.Disconnect the negative battery terminal. (See NEGATIVE BATTERY TERMINAL DISCONNECTION/CONNECTION [(US)].)
2.Remove the outer mirror glass. (See OUTER MIRROR GLASS REMOVAL.) (See OUTER MIRROR GLASS INSTALLATION.)
3.Connect the battery voltage as shown in the figure.
am3zzw00029246
|
-
• If the blind spot monitoring (BSM) warning indicator light does not illuminate, replace the outer mirror glass. (See OUTER MIRROR GLASS REMOVAL.) (See OUTER MIRROR GLASS INSTALLATION.)
Auto-dimming Outer Mirror
1.Disconnect the negative battery terminal. (See NEGATIVE BATTERY TERMINAL DISCONNECTION/CONNECTION [(US)].)
2.Remove the outer mirror glass. (See OUTER MIRROR GLASS REMOVAL.) (See OUTER MIRROR GLASS INSTALLATION.)
3.Connect the dry cell batteries (1.2 V) in a series.
am3zzw00031356
|
-
• Verify that the mirror side of the outer mirror glass changes color.
4.If there is any malfunction, replace the outer mirror glass. (See OUTER MIRROR GLASS REMOVAL.) (See OUTER MIRROR GLASS INSTALLATION.)



