Menu +
Generic selectors
Exact matches only
Search in title
Search in content
Post Type Selectors

ENGINE-TRANSAXLE INTEGRATION CONTROL [EV6A-EL, EV6AX-EL]

ENGINE-TRANSAXLE INTEGRATION CONTROL [EV6A-EL, EV6AX-EL]

SM2565446


id0517o3362800



Outline

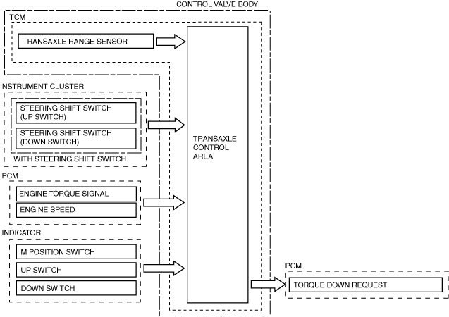
• The TCM controls engine output torque and reduces transaxle output shaft torque fluctuation during auto shifting, and reduces shock occurring from the vehicle during shifting.



Construction

am3zzn00009961



Operation

• During auto shifting, the TCM sends the torque reduction request signal using the CAN system and temporarily reduces the engine output torque by the engine ignition timing retard control. As a result, transaxle output shaft torque fluctuation is reduced during auto shifting by smooth engagement of the clutch.

am3uun00002292
• In addition, the TCM receives the engine output torque from the PCM via the CAN signal to determine the clutch engagement pressure according to the engine output torque. As a result, the clutch hydraulic control setting accuracy is increased and smooth shift performance is achieved.