POSITIVE CRANKCASE VENTILATION (PCV) SYSTEM [SKYACTIV-G (WITHOUT CYLINDER DEACTIVATION (US))]
POSITIVE CRANKCASE VENTILATION (PCV) SYSTEM [SKYACTIV-G (WITHOUT CYLINDER DEACTIVATION (US))]
SM2565292
id0116u0148900
Positive Crankcase Ventilation (PCV) System
Purpose, outline
-
• Prevents release of blow-by gas (unburnt gas) into the atmosphere.• The intake manifold vacuum introduces blow-by gas to the intake manifold via the PCV valve and the ventilation hose.
System diagram
ac5uun00003889
|
Structure
-
• The positive crankcase ventilation system consists of the following parts:
|
Part name |
Reference |
|---|---|
|
PCV valve
|
|
|
Ventilation hose
|
―
|
Positive Crankcase Ventilation (PCV) Valve
Purpose, function
-
• Prevents release of blow-by gas (unburnt gas) into the atmosphere.• The PCV valve is open/closed by the intake manifold vacuum.
Construction
-
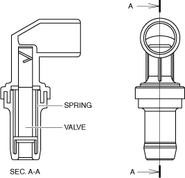
• The PCV valve is installed to the oil separator.
am3zzn00006699• The PCV valve consists of a spring and valve.SKYACTIV-G 2.0
am3uun00003197SKYACTIV-G 2.5
am6zzn00002526
Operation
-
• When the valve is pulled by the intake manifold vacuum, blow-by gas flows to the intake manifold.
SKYACTIV-G 2.0
am3uun00003198SKYACTIV-G 2.5
am6zzn00002527• Blow-by gas flow amount is adjusted by the spring according to the intake manifold vacuum.





