OIL JET VALVE [SKYACTIV-G (WITHOUT CYLINDER DEACTIVATION (US))]
OIL JET VALVE [SKYACTIV-G (WITHOUT CYLINDER DEACTIVATION (US))]
SM2565250
id0111u0002600
Purpose, Function
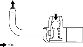
Construction
| 
 am3uun00001901 | 
| 
 am3uun00001902 | 
Operation
1.When the oil pressure applied to the check ball exceeds the spring force, the check ball and spring are pressed down.
2.The oil passage is opened to the nozzle and engine oil is injected to the back side of the piston.
| 
 ac5uun00001087 | 
3.When the oil pressure applied to the check ball is lower than the spring force, the spring presses up the check ball.
4.The oil passage to the nozzle is closed and the injection of engine oil stops.
| 
 ac5uun00001088 | 



