Menu +
Generic selectors
Exact matches only
Search in title
Search in content
Post Type Selectors

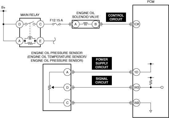
DTC P0524:00 [PCM (SKYACTIV-G (WITH CYLINDER DEACTIVATION (US)))]

DTC P0524:00 [PCM (SKYACTIV-G (WITH CYLINDER DEACTIVATION (US)))]

SM2565540


id0102t43397u4



Outline

System malfunction location

Engine oil pressure too low

Detection condition
• If any of the following conditions is met under condition A or condition B:
Condition A:
― After 10 s have elapsed since engine start and 3 s have elapsed since the actual engine oil pressure falls below the specified value. *
*: With the conditions met, the engine oil warning indication is displayed/engine oil warning light turns on.
Condition B:
― The PCM repeats a condition in which the pressure to the engine oil required for cylinder deactivation control is not boosted 5 times with the following DTCs not detected.
• Engine oil solenoid valve: P06DB:00
• Engine oil pressure sensor: P0522:00 and P0523:00
Fail-safe
Condition A:
• Restricts the upper limit of the engine speed.
Condition B:
• Inhibits the cylinder deactivation control.
Possible cause
• Engine oil leakage
• Improper engine oil level
• Engine oil solenoid valve connector or terminals malfunction
• Engine oil temperature sensor/engine oil pressure sensor connector or terminals malfunction
• PCM connector or terminals malfunction
• Short to ground in engine oil solenoid valve control circuit
• Short to ground in engine oil pressure sensor following circuit:
― Power supply circuit
― Signal circuit
• Engine oil solenoid valve malfunction
• Engine oil pressure sensor malfunction
• Oil pump malfunction
• PCM malfunction



Diagnostic Procedure

Step

Inspection

Results

Action

1
RECORD VEHICLE STATUS WHEN DTC WAS DETECTED TO UTILIZE WITH REPEATABILITY VERIFICATION
• Record the freeze frame data/snapshot data.

Note
• Recording can be facilitated using the screen capture function of the PC.
Go to the next step.
2
VERIFY RELATED REPAIR INFORMATION OR SERVICE INFORMATION AVAILABILITY
• Verify related Service Bulletins, on-line repair information, or Service Information availability.
• Is any related Information available?
Yes
Perform repair or diagnosis according to the available information.
• If the vehicle is not repaired, go to the next step.
No
Go to the next step.
3
INSPECT ENGINE OIL LEAKAGE
• Start the engine.
• Verify that there is no engine oil leakage in the hydraulic circuit.
• Is there any leakage?
Yes
Repair or replace the malfunctioning location, then add genuine motor oil.
Perform the “ENGINE OIL DATA RESET” and perform the repair completion verification.
No
Go to the next step.
4
INSPECT ENGINE OIL LEVEL
• Is the engine oil level sufficient?
Yes
Go to the next step.
No
Add genuine motor oil.
Perform the “ENGINE OIL DATA RESET” and perform the repair completion verification.
5
INSPECT ENGINE OIL SOLENOID VALVE CONNECTOR FOR MALFUNCTION
• Inspect the applicable connector and terminal. (See CONNECTOR INSPECTION.)
• Are the connector and terminal normal?
Yes
Go to the next step.
No
Repair or replace the malfunctioning location and perform the repair completion verification.
6
INSPECT ENGINE OIL TEMPERATURE SENSOR/ENGINE OIL PRESSURE SENSOR CONNECTOR FOR MALFUNCTION
• Inspect the applicable connector and terminal. (See CONNECTOR INSPECTION.)
• Are the connector and terminal normal?
Yes
Go to the next step.
No
Repair or replace the malfunctioning location and perform the repair completion verification.
7
INSPECT PCM CONNECTOR FOR MALFUNCTION
• Inspect the applicable connector and terminal. (See CONNECTOR INSPECTION.)
• Are the connector and terminal normal?
Yes
Go to the next step.
No
Repair or replace the malfunctioning location and perform the repair completion verification.
8
INSPECT ENGINE OIL SOLENOID VALVE CONTROL CIRCUIT FOR SHORT TO GROUND
• Inspect the applicable circuit for a short to ground. (See CIRCUIT INSPECTION.)
• Is the circuit normal?
Yes
Go to the next step.
No
Repair or replace the malfunctioning location and perform the repair completion verification.
9
INSPECT ENGINE OIL PRESSURE SENSOR POWER SUPPLY CIRCUIT AND SIGNAL CIRCUIT FOR SHORT TO GROUND
• Inspect the applicable circuit for a short to ground. (See CIRCUIT INSPECTION.)
• Is the circuit normal?
Yes
Go to the next step.
No
Repair or replace the malfunctioning location and perform the repair completion verification.
10
INSPECT ENGINE OIL SOLENOID VALVE FOR MALFUNCTION
• Is the part normal?
Yes
Go to the next step.
No
Repair or replace the malfunctioning location and perform the repair completion verification.
11
INSPECT ENGINE OIL PRESSURE SENSOR FOR MALFUNCTION
• Is the part normal?
Yes
Replace the oil pump and perform the repair completion verification.
No
Repair or replace the malfunctioning location and perform the repair completion verification.
Repair completion verification 1
VERIFY THAT VEHICLE IS REPAIRED
• Install/connect the part removed/disconnected during the troubleshooting procedure.
• Clear the DTC recorded in the memory. (See CLEARING DTC.)
• Replicate the vehicle conditions at the time the DTC was detected using the following procedure.
― Start the engine.
― Increase and keep the engine speed at 2,500 rpm for 5 s.
• Perform the DTC inspection for the PCM. (See DTC INSPECTION.)
• Is the same Pending DTC present?
Yes
Refer to the controller area network (CAN) malfunction diagnosis flow to inspect for a CAN communication error.
If the CAN communication is normal, perform the diagnosis from Step 1.
• If the malfunction recurs, replace the PCM, then go to the next step. (See PCM REMOVAL/INSTALLATION [SKYACTIV-G (WITH CYLINDER DEACTIVATION (US))].)
No
Go to the next step.
Repair completion verification 2
VERIFY IF OTHER DTCs DISPLAYED
• Perform the DTC inspection. (See DTC INSPECTION.)
• Are any other DTCs displayed?
Yes
Repair the malfunctioning location according to the applicable DTC troubleshooting.
No
DTC troubleshooting completed.