WARNING/INDICATION/ALARM [LIGHTING SYSTEMS]
WARNING/INDICATION/ALARM [LIGHTING SYSTEMS]
SM2334261
id0918001305z8
EXTERIOR LIGHT WARNING LIGHT
-
― Headlight auto leveling system non-initialization― Headlight auto leveling system malfunction― Adaptive front lighting system (AFS) malfunction (with adaptive front lighting system (AFS))― Exterior light malfunction
Function
|
Signal name |
Sending module/part name |
Communication method |
Exterior light warning light operation status |
|---|---|---|---|
|
Headlight auto leveling system non-initialization signal
|
Auto leveling control module/AFS control module
|
HS-CAN
|
Flash
|
|
• Headlight auto leveling system malfunction signal
• Adaptive front lighting system (AFS) malfunction signal (with adaptive front lighting system (AFS))
• LED headlight malfunction signal
|
On
|
am3zzn00009914
|
Structure/Construction
am3zzn00009915
|
Operation
-
― Headlight auto leveling system non-initialization signal― Headlight auto leveling system malfunction signal― Adaptive front lighting system (AFS) malfunction signal (with adaptive front lighting system (AFS))― LED headlight malfunction signal
am3zzn00009916
|
TURN SIGNAL/HAZARD WARNING INDICATOR LIGHTS
Function
-
Note
-
• If a turn light is burned out, the turn signal/hazard warning indicator lights flashing speed increases.
Structure/Construction
am3zzn00008859
|
Operation
Turn light system
-
1. When the turn switch is in the LH or RH position, the instrument cluster sends (1) a turn switch LH signal or turn switch RH signal to the body control module (BCM) via CAN communication.2. When the body control module (BCM) receives the turn switch LH signal or turn switch RH signal with the ignition switched ON (engine off or on), it sends (2) the signal to the instrument cluster as a turn signal.3. The instrument cluster turns the transistor on (3) intermittently based on the turn signal.4. When the transistor turns on intermittently, the turn signal indicator light flashes (4).
am3zzn00007287
|
Hazard warning system
-
1. When the hazard warning switch turns on, the climate control unit sends (1) a turn switch LH signal and turn switch RH signal to the body control module (BCM) via CAN communication.2. When the body control module (BCM) receives the turn switch LH signal and turn switch RH signal, it sends (2) the signal to the instrument cluster as a hazard warning indicator signal.3. The instrument cluster turns the transistor on (3) intermittently based on the hazard warning indicator signal.4. When the transistor turns on intermittently, the hazard warning indicator light flashes (4).
am3zzn00007287
|
LIGHTS-ON INDICATOR LIGHT
Function
am6xun00003901
|
Structure/Construction
am3zzn00008860
|
Operation
Light switch operation
-
1. When the light switch is in the TNS position, the instrument cluster sends (1) a TNS signal to the body control module (BCM) via CAN communication.2. The body control module (BCM) sends (2) a TNS on signal to the instrument cluster.3. The instrument cluster turns the transistor on (3) based on the TNS on signal.4. When the transistor turns on, a ground circuit with the lights-on indicator light is established and the lights-on indicator light turns on (4).
am3zzn00007288
|
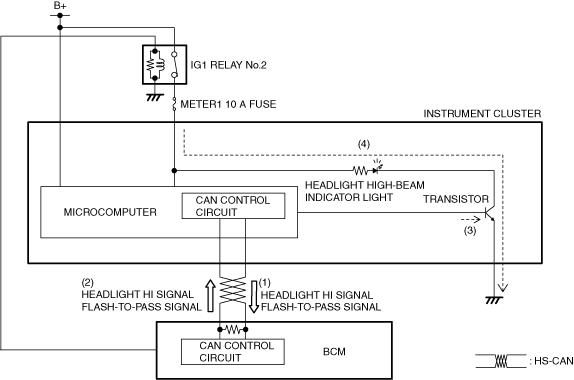
HEADLIGHT HIGH-BEAM INDICATOR LIGHT
Function
Structure/Construction
am3zzn00008861
|
Operation
-
― Light switch at HEAD position and dimmer switch at HI position― Dimmer switch at passing position
am3zzn00007289
|









