INTERMEDIATE SHAFT REMOVAL/INSTALLATION [(US)]
INTERMEDIATE SHAFT REMOVAL/INSTALLATION [(US)]
SM2335544
id0613008031x1
Replacement part
|
Joint bolt
Quantity: 1
Location of use: Intermediate shaft (upper side)
|
Joint bolt
Quantity: 1
Location of use: Intermediate shaft (lower side)
|
-
Warning
-
• The temperature of the steering column (EPS motor) is high just after turning the steering mechanism from lock to lock repeatedly, and it may cause severe burns. Before performing the work, verify that the steering column is cold.
-
Caution
-
• If the intermediate shaft is connected to the steering gear (pinion) before installing the steering column to the dashboard member, the weight of the steering column could cause damage to the intermediate shaft slider/bush/yoke. Always perform the procedure following to the workshop manual.
-
Note
-
• When installing the replacement part, do not rotate the steering shaft until the installation is completed.
1.Rotate the steering wheel until the joint bolt is in a position in which it can be removed.
-
Caution
-
• If the steering wheel rotates after the steering shaft and the steering gear and linkage are disconnected, the internal parts of the clock spring could be damaged. After disconnecting the steering shaft, secure the steering wheel using tape or cable to prevent it from rotating.
2.Lock the adjuster lever.
am3zzw00023165
|
3.Remove in the order shown in the figure.
4.Install in the reverse order of removal.
am3zzw00035134
|
|
1
|
Joint cover
|
|
2
|
Intermediate shaft
|
Intermediate Shaft Removal Note
1.Place an alignment mark across the break between the steering column and the yoke for the intermediate shaft as shown in the figure.
ac8wzw00001520
|
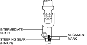
2.Place alignment marks on the steering gear (pinion) and intermediate shaft as shown in the figure.
ac8wzw00001521
|
3.Remove the joint bolts in the order of joint bolts A and B.
am3zzw00023167
|
4.Remove the intermediate shaft.
Intermediate Shaft Installation Note
1.Align the intermediate shaft with the alignment marks on the steering column and steering gear (pinion) made before removing the intermediate shaft and install the intermediate shaft.
ac8wzw00001523
|
-
Note
-
• When newly replacing the intermediate shaft, place alignment marks on the new part in the same position as the removed intermediate shaft.
ac8wzw00001524
2.Install the joint bolts in the order of joint bolts B and A.
am3zzw00032546
|
3.Verify that joint bolt B flange is seated correctly.
am3zzw00031476
|
4.Verify that joint bolt A is inserted into the groove of the steering gear (pinion).
am3zzw00031477
|









