FRONT MAP LIGHT
FRONT MAP LIGHT
SM2334258
id091800112600
Purpose
Function
Construction
am3zzn00009389
|
Operation
-
Note
-
• When the BCM receives a lock signal on the remote transmitter with the ignition switched off and all doors/ trunk lid closed, it automatically turns the front map light off.
LED type
-
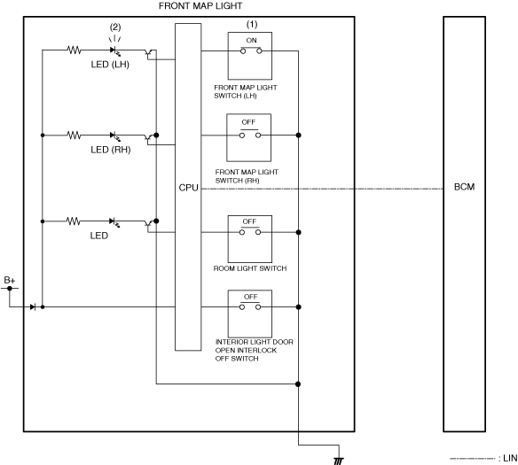
Front map light switch operation
-
1. When the front map light switch turns on (1), the front map lights turn on (2).
am3zzn00007443
|
-
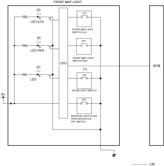
Room light switch operation
-
1. When the interior light switch turns on (1), the front map lights turn on (2).
am3zzn00007444
|
-
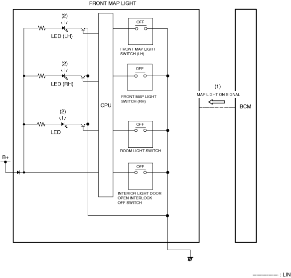
Interior light door open interlock switch operation
-
1. When any door is opened, the body control module (BCM) detects a door open signal.2. When the body control module (BCM) detects the door open signal, it sends (1) a front map light on request signal to the front map light via LIN communication.3. When the front map light receives the front map light on request signal, it turns the front map light on (2).
-
Note
-
• When the interior light door open interlock switch turns off, the interior light control system controls the timing for turning the front map light on and off. For details, refer to the [INTERIOR LIGHT CONTROL SYSTEM].(See ROOM LIGHT CONTROL SYSTEM.)
am3zzn00007445
|



