ODOMETER/TRIPMETER
ODOMETER/TRIPMETER
SM2334290
id092200032900
Purpose
Functions
Odometer calculation function
-
• The instrument cluster displays the total traveled distance based on the total traveled distance signal from the BCM.• The total traveled distance which can be displayed is from 0 to 999999.
Tripmeter A/B calculation function
-
• The instrument cluster displays the traveled distance based on the traveled distance signal from the BCM and the traveled distance from when the tripmeter is reset.• There are A and B tripmeters and the display for each can be switched with each press of the tripmeter switch.• If the tripmeter switch is continuously pressed for approx. 1.5 s or more, the tripmeter traveled distance is reset (0).• The traveled distance which can be displayed is from 0 to 9999. After 9999, it returns to 0.
Structure/Construction
am3zzn00006871
|
Operation
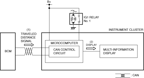
1.The instrument cluster receives the total traveled distance (odometer) data (1) from the BCM and the traveled distance (tripmeter) data (1) over a specific interval with the ignition switched ON (engine on).
2.The instrument cluster displays (2) the total traveled distance (odometer) data received from the BCM and the traveled distance (tripmeter) data over a specific interval on the multi-information display.
am3zzn00009851
|
Odometer/tripmeter switching operation
-
• For details on the odometer/tripmeter switching operation, refer to [TRIP COMPUTER INFORMATION SYSTEM]. (See TRIP COMPUTER INFORMATION SYSTEM [(US)].)

