AIR BAG SYSTEM [TWO-STEP DEPLOYMENT CONTROL SYSTEM – US/CANADA SPEC.]
AIR BAG SYSTEM [TWO-STEP DEPLOYMENT CONTROL SYSTEM – US/CANADA SPEC.]
SM2334169
id0810b4500100
Outline
-
Warning
-
• The air bag system supplements the occupant protection function of the seat belts, however the intended effect of the air bag system cannot be obtained if the seat belts are not fastened correctly. When driving the vehicle, always fasten the seat belts correctly.
Function
×: Collision detection××: Operation (deployment)—: No detection
|
Collision area |
Sensor |
Operation (deployment) part |
|||||||||
|---|---|---|---|---|---|---|---|---|---|---|---|
|
Crash sensor integrated into SAS control module |
Crash sensor integrated into crash zone sensor |
Crash sensor integrated into side air bag sensor |
Pressure detection sensor integrated into pressure sensor |
Driver-side air bag module |
Passenger-side air bag module |
Driver-side knee air bag module |
Passenger-side knee air bag module |
Curtain air bag module (driver-side/passenger-side) |
Side air bag module (driver-side/passenger-side) |
Front pre-tensioner seat belt (driver-side/passenger-side) |
|
|
Collision from front of vehicle or frontal offset
|
×
|
—
|
—
|
—
|
—
|
—
|
—
|
—
|
—
|
—
|
—
|
|
—
|
×
|
—
|
—
|
—
|
—
|
—
|
—
|
—
|
—
|
—
|
|
|
×
|
×
|
—
|
—
|
××
|
××
|
××
|
××
|
×× *1, *2
|
×× *1, *2
|
××
|
|
|
Collision from side of vehicle
|
×
|
—
|
—
|
—
|
—
|
—
|
—
|
—
|
—
|
—
|
—
|
|
—
|
—
|
×
|
—
|
—
|
—
|
—
|
—
|
—
|
—
|
—
|
|
|
—
|
—
|
—
|
×
|
—
|
—
|
—
|
—
|
—
|
—
|
—
|
|
|
×
|
—
|
×
|
—
|
—
|
—
|
—
|
—
|
×× *2
|
×× *2
|
××
|
|
|
×
|
—
|
—
|
×
|
—
|
—
|
—
|
—
|
×× *2
|
×× *2
|
××
|
|
|
×
|
—
|
×
|
×
|
—
|
—
|
—
|
—
|
×× *2
|
×× *2
|
××
|
|
|
Collision from rear of vehicle
|
×
|
—
|
—
|
—
|
—
|
—
|
—
|
—
|
—
|
—
|
—
|
With roll rate sensor
×: Collision detection××: Operation (deployment)—: No detection
|
Collision area |
Sensor |
Operation (deployment) part |
|||||||
|---|---|---|---|---|---|---|---|---|---|
|
Roll rate sensor integrated into SAS control module |
Low-G sensor integrated into SAS control module |
Driver-side air bag module |
Passenger-side air bag module |
Driver-side knee air bag module |
Passenger-side knee air bag module |
Curtain air bag module (driver-side/passenger-side) |
Side air bag module (driver-side/passenger-side) |
Front pre-tensioner seat belt (driver-side/passenger-side) |
|
|
Vehicle is involved in rollover collision
|
×
|
—
|
—
|
—
|
—
|
—
|
—
|
—
|
—
|
|
—
|
×
|
—
|
—
|
—
|
—
|
—
|
—
|
—
|
|
|
×
|
×
|
—
|
—
|
—
|
—
|
××
|
—
|
××
|
|
Driver-side/passenger-side air bag deployment force switching function (two-step deployment)
-
• The driver-side/passenger-side air bag deployment force switching function switches the driver-side/passenger-side air bag deployment force by deploying inflators No.1 and 2 built into the driver-side/passenger-side air bag module simultaneously or only inflator No.1 *1 according to the degree of impact from a frontal or frontal offset collision and seat belt fastening status.
|
Collision impact |
Driver’s seat position |
Front seat belt status |
Driver-side/passenger-side air bag module |
Air bag deployment force |
|
|---|---|---|---|---|---|
|
Inflator No.1 |
Inflator No.2 |
||||
|
Small
|
Position other than most forward position
|
Fastened
|
Deployment
|
—
|
Small
|
|
Large
|
Deployment
|
Deployment
|
Large
|
||
|
Small
|
Not fastened
|
Deployment
|
Deployment
|
Large
|
|
|
Large
|
Deployment
|
Deployment
|
Large
|
||
|
Small
|
Most forward position
|
Fastened
|
Deployment
|
—
|
Small
|
|
Large
|
Deployment
|
—
|
Small
|
||
|
Small
|
Not fastened
|
Deployment
|
—
|
Small
|
|
|
Large
|
Deployment
|
—
|
Small
|
||
System conditions display function
-
• The air bag system detects each part condition and the SAS control module sends the system status signal to the instrument cluster.• The instrument cluster notifies the user of the system conditions using the following warning light based on the system condition signal.
|
Warning light |
Reference |
|---|---|
|
Air bag/seat belt pre-tensioner system warning light
|
|
|
Seat belt warning light
|
(See INSTRUMENT CLUSTER [(US)].)
(See INDICATOR UNIT [(US)].)
|
Structure/Construction
Structural view
am3zzn00008150
|
am3zzn00007518
|
System wiring diagram
am3zzn00008151
|
Operation
Collision from front of vehicle or frontal offset
1.When an impact from a frontal or frontal offset collision (1) is received, the crash sensor built into the crash zone sensor and the crash sensor (2) built into the SAS control module detect the impact and convert the impact into an electrical signal at the signal processing circuit (3).
2.The SAS control module calculates (6) the degree of impact using the determination and safing circuit (5) based on the electric signal (4) from each crash sensor.
3.If the calculated degree of impact exceeds the previously set threshold, the SAS control module outputs (8) an operation (deployment) signal to each air bag module or pre-tensioner seat belt at the output control circuit (7).
4.Each air bag module or pre-tensioner seat belt operates (deploys) (9) based on the operation (deployment) signal from the SAS control module.
am3zzn00008152
|
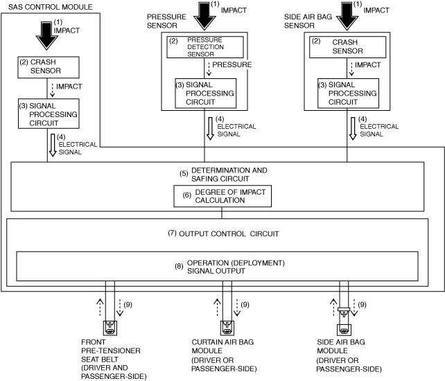
Collision from side of vehicle
1.When an impact (1) from a lateral collision is received, the following sensors (2) detect the impact and convert the impact or the pressure into an electrical signal at the signal processing circuit (3).
-
― Crash sensor integrated into side air bag sensor― Crash sensor integrated into SAS control module― Pressure detection sensor integrated into pressure sensor
2.The SAS control module calculates (6) the degree of impact using the determination and safing circuit (5) based on the electric signal (4) from each crash sensor or the pressure detection sensor.
3.If the calculated degree of impact exceeds the previously set threshold, the SAS control module outputs (8) an operation (deployment) signal to each air bag module or pre-tensioner seat belt at the output control circuit (7).
4.Each air bag module or pre-tensioner seat belt operates (deploys) (9) based on the operation (deployment) signal from the SAS control module.
am3zzn00008153
|
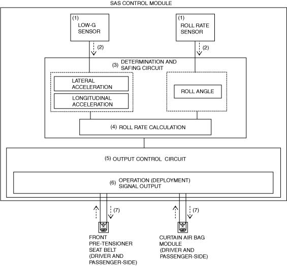
Vehicle is involved in rollover collision
1.The following sensors integrated into the SAS control module (1) detect the various movements (2) of the vehicle while it is moving and converts them to electric signals.
-
― Low-G sensor in the SAS control module detects acceleration of vehicle in lateral and longitudinal direction― Roll rate sensor in the SAS control module detects acceleration of vehicle in roll angle direction
2.The SAS control module calculates (4) the roll value using the determination and safing circuit (3) based on the electric signal from each sensor.
3.If the calculated degree of the roll angle exceeds the previously set threshold, the SAS control module outputs (6) an operation (deployment) signal to the curtain air bag module and pre-tensioner seat belt at the output control circuit (5).
4.The curtain air bag module and pre-tensioner seat belts operate (deploy) (7) based on the operation (deployment) signal from the SAS control module.
am3zzn00008154
|





