LANE-KEEP ASSIST SYSTEM [(US)]
LANE-KEEP ASSIST SYSTEM [(US)]
SM2565503
id1510000030a3
Purpose
-
Warning
-
• The lane-keep assist system is not an automated driving system. In addition, the system is not designed to compensate for a driver’s lack of caution, and over-reliance on the system could lead to an accident.• The functions of the lane-keep assist system have limitations. Always stay on course using the steering wheel and drive with care.• Do not use the lane-keep assist system under the following circumstances, otherwise it may result in an accident.
-
― The vehicle is driven on slippery roads such as icy or snow-covered roads, and unpaved roads― Tires of a different specified size are used, such as a temporary spare tire― Tires with insufficient tread are used― The tire pressures are not adjusted to the specified pressure― The vehicle is being used to tow a camper or boat trailer― Tire chains are used― The vehicle is driven on roads with lane lines other than white (yellow) lines, such as an expressway
-
-
Caution
-
• Heed the following cautions so that the lane-keep assist system can operate normally.
-
― Do not modify the vehicle’s suspensions― Always use wheels of the specified type and size for the front and rear wheels.
-
-
Note
-
• The lane-keep assist system may not operate normally under the following conditions.
-
― The white (yellow) lane lines are less visible because of dirt or paint flaking― The white (yellow) lane lines are less visible because of bad weather (rain, fog, or snow)― The vehicle is driven on a temporary lane or section with a closed lane resulting from construction where there might be multiple white (yellow) lane lines, or they are interrupted― The camera picks up an obscure line, such as a temporary line being used for construction, or because of shade, unmelted snow, or grooves filled with water― The surrounding brightness suddenly changes such as when entering or exiting a tunnel― Back-light is reflected off the road surface― The road surface is wet and shiny after rain, or there are puddles on the road― The width of a lane is excessively narrow― The vehicle is driven on roads with tight curves― Heavy luggage is loaded in the luggage compartment or on the rear seat causing the vehicle to tilt― The vehicle is driven through a fork in the road or a junction― The shade of a guardrail parallel to a white (yellow) lane lines is cast on the road― The illumination of the headlights is weakened because of dirt or the optical axis is deviated at night― The road is excessively uneven― The vehicle is shaken after hitting a road bump― A vehicle in front of your vehicle is running near a white (yellow) lane line making it less visible― The windshield is dirty or foggy― Strong light is directed from the front of the vehicle (such as sunlight, or headlights (high-beam) of on-coming vehicles)
-
Structural View
am3zzn00008300
|
Functions
Steering wheel operation assist
-
• When the system determines that the vehicle might be deviating from its lane, the steering wheel operation assist operates.• The system notifies the driver of the direction in which the system provided steerng wheel operation assistance on the multi-information display.
Lane-keep assist system warning
-
• If the steering wheel operation assist operates with the following condition, the notification and warning speaker (front) sounds a warning.
-
― Steering wheel operation assist continues more than 10 seconds― Another steering wheel operation assist is performed and the driver does not operate the steering wheel within 180 seconds after the first steering wheel operation assist
-
am3zzn00009314
|
Operation
System Wiring Diagram
am3zzn00009973
|
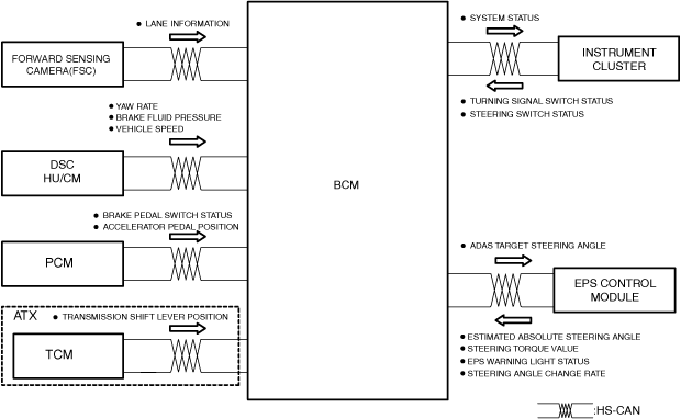
Block Diagram
am3zzn00009974
|
-
― Lane-keep assist system ON― Driving at vehicle speed of approx. 64 km/h {40 mph} or more― The system detects white lines (yellow lines) of the left or right― DSC is on
-
― Vehicle speed is less than approx. 56 km/h {35 mph}― The system cannot detect white (yellow) lane lines (left and right)― The DSC/TSC is operating― The DSC is turned off
-
― The turn switch is operated.― Avoidance maneuver is performed or the vehicle lane is changed.― The accelerator pedal is depressed a certain amount or more.― The brake pedal is depressed.
-
Note
-
• When all of the operation conditions are met after driving, the lane-keep assist system is enabled automatically.
-
System conditions display table
|
Lane-keep assist system condition |
Condition |
i-ACTIVSENSE status symbol |
i-ACTIVSENSE OFF symbol |
i-ACTIVSENSE warning light |
Multi-information display indication |
Active driving display indication |
|---|---|---|---|---|---|---|
|
OFF
|
System off
|
No display
|
![]() |
No display
|
No display
|
No display
|
|
ON
|
Operating condition not met
|
![]() |
Off
|
Off
|
No display
|
No display
|
|
Operating condition met, but the vehicle lane lines are not recognized
|
![]() |
Off
|
Off
|
No display
|
No display
|
|
|
Operating condition met and the vehicle lane lines recognized on left side
|
![]() |
Off
|
Off
|
No display
|
No display
|
|
|
Operating condition met and the vehicle lane lines recognized on right side
|
![]() |
Off
|
Off
|
No display
|
No display
|
|
|
Operating condition met and the vehicle lane lines recognized on both sides
|
![]() |
Off
|
Off
|
No display
|
No display
|
|
|
Steering assist rotated clockwise
|
![]() |
Off
|
Off
|
![]() |
No display
|
|
|
Steering assist rotated counter clockwise
|
![]() |
Off
|
Off
|
![]() |
No display
|
|
|
Function stopped temporarily
|
![]() |
Off
|
Off
|
No display
|
No display
|
|
|
Mafunction occurred
|
![]() |
Off
|
On
|
![]() |
No display
|
Steering wheel operation assist
-
• When the vehicle approaches to white lines (yellow lines), the body control module (BCM) calculates the steering wheel angle required for the prevention of a lane departure and outputs a steering wheel angle request signal to the EPS CM.
-
• The EPS CM energizes the EPS motor to generate assist torque and supplement the insufficient steering angle for the prevention of a lane departure based on the steering wheel operation assist request signal.
-
• When the driver performs the prevention operation during steering wheel operation assist, the driver’s operation is given priority.
am3zzn00009627
|
-
Note
-
• When the forward sensing camera (FSC) can detect either left or right white line (yellow line), the lane-keep assist system is performed. However, the steering wheel operation assist cannot be activated only when the vehicle deviates on the side where the white line (yellow line) is being detected.











